Patent Diagram

Case Applied with Patent

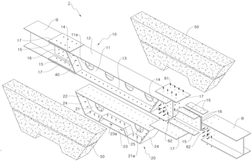
Registration No. 10-1610793 : Concrete composite built-up beam and the bridge structure having such concrete composite built-up beam
- Patented technology to secure the stability of the bridge by increasing the resistant performance against the buckling phenomenon in the joint area of bridge where the biggest moment out of the components of bridge
- Enable to apply to observatory, skywalk, etc. where the H-beam girder outside of bridge is installed.


